Η Apple εξετάζει την κατασκευή ενός κυλιόμενου iPhone
Ακόμα περιμένετε για αυτό το αναδιπλούμενο
iPhone
; Ίσως παίρνουμε αντ’ αυτού ένα κυλιόμενο iPhone.
Η
Apple
έχει λάβει δίπλωμα ευρεσιτεχνίας για ένα
smartphone
με κυλιόμενη οθόνη (μέσω
Ευτυχώς η Apple
(ανοίγει σε νέα καρτέλα)
). ο
ευρεσιτεχνία
(ανοίγει σε νέα καρτέλα)
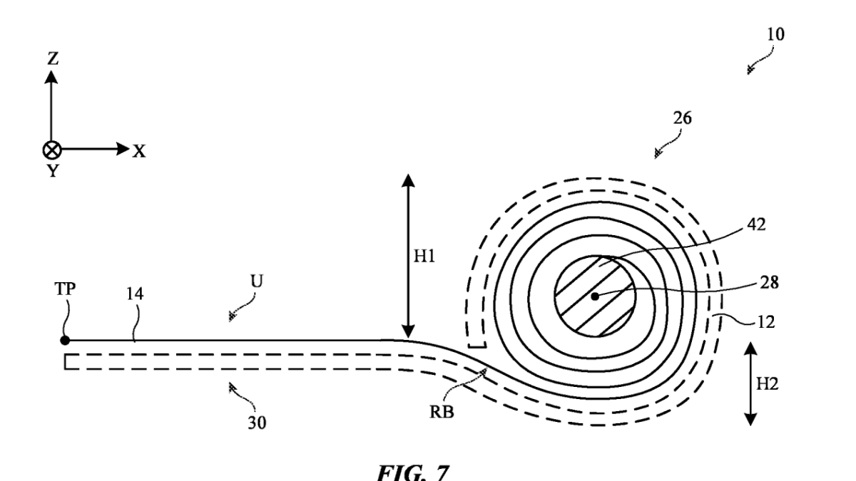
που κατατέθηκε τον Νοέμβριο του 2022 και δημοσιεύτηκε την Πέμπτη, περιγράφει μια ηλεκτρονική συσκευή με οθόνη που “μπορεί να μετακινηθεί μεταξύ μιας κατάστασης ξετυλίγματος στην οποία η οθόνη είναι επίπεδη και μιας κατάστασης κύλισης στην οποία ένα κυλιόμενο τμήμα της οθόνης τυλίγεται για αποθήκευση .”
ΔΕΙΤΕ ΕΠΙΣΗΣ:
Το κυλιόμενο πρωτότυπο τηλέφωνο της Motorola δείχνει ότι τα πτυσσόμενα δεν είναι ο μόνος δρόμος προς τα εμπρός
Το δίπλωμα ευρεσιτεχνίας αναφέρει τη χρήση ενός «τοπικά αραιωμένου» στρώματος γυαλιού στο κυλιόμενο τμήμα, καθώς και μιας οθόνης διαμορφωμένης με τέτοιο τρόπο ώστε η «συμπιεστική τάση στην προς τα έξω γυάλινη επιφάνεια μπορεί να βοηθήσει στην αποφυγή ζημιάς στην οθόνη όταν η οθόνη είναι λυγισμένη. “
Τι θα λέγατε για μια οθόνη που ανοίγει ή εισέρχεται και στις δύο πλευρές;
Πίστωση: uspto.gov/apple
Ενώ το δίπλωμα ευρεσιτεχνίας μιλά για ηλεκτρονικές συσκευές με οθόνες γενικά, αναφέρει επίσης συγκεκριμένα φορητές συσκευές όπως smartphone.
Γνωρίζουμε ότι οι κυλιόμενες οθόνες είναι πολύ δυνατές. Η LG ήταν στην πρώτη γραμμή αυτής της θέσης με μια κυλιόμενη τηλεόραση OLED, καθώς και ένα κυλιόμενο τηλέφωνο που έφτασε πολύ κοντά στην κυκλοφορία, αλλά τελικά δεν είδε ποτέ το φως της δημοσιότητας. Η Motorola παρουσίασε επίσης μερικές ιδέες για κυλιόμενο τηλέφωνο, όπως και η Oppo, αλλά καμία εταιρεία δεν παρουσίασε ποτέ ένα τέτοιο τηλέφωνο σε ένα ευρύ κοινό.
Η Apple, ωστόσο, είναι συνήθως πολύ πιο προσεκτική όταν εισάγει τέτοιες τεχνολογίες στα ευρέως διαθέσιμα προϊόντα της. Το γεγονός ότι η εταιρεία έχει ένα δίπλωμα ευρεσιτεχνίας για συσκευές με κυλιόμενες οθόνες δίνει τουλάχιστον ελπίδες ότι μπορεί να συμβεί ένα κυλιόμενο iPhone ή iPad στο μέλλον, αλλά δεν θα στοιχηματίζαμε ότι θα συμβεί πολύ σύντομα.


