Ημερομηνία κυκλοφορίας, φήμες και τι θέλουμε να δούμε

Kaitlyn Cimino / Android Authority

Τα ρολόγια της Samsung είναι από τα καλύτερα έξυπνα ρολόγια που διατίθενται στη σημερινή αγορά. Ονομάσαμε ακόμη και το Galaxy Watch 5 Pro το κορυφαίο φορετό μας για το 2022. Παρά την επιτυχία της σειράς, ωστόσο, η Samsung δεν φαίνεται έτοιμη να επαναπαυθεί στις δάφνες της. Αντίθετα, η εταιρεία δείχνει σημάδια περιστροφής σε έναν πολύ μικρότερο παράγοντα μορφής και σε ένα διαφορετικό μέρος του σώματος. Πιθανώς να γλιστρήσετε σύντομα στα δάχτυλά σας κοντά σας, εδώ είναι όλα όσα γνωρίζουμε για το Samsung Galaxy Ring.

Θα υπάρξει Samsung Galaxy Ring;

Oura Ring 3 στο χέρι

Kaitlyn Cimino / Android Authority

Oura Ring 3

Αν υποθέσουμε ότι δεν υπάρχουν απρόβλεπτες καταστροφές στα τρέχοντα σχέδια της εταιρείας, είναι πολύ πιθανό ένα Galaxy Ring. Τουλάχιστον, είναι σίγουρο ότι η Samsung έχει ένα έξυπνο δαχτυλίδι στα σκαριά. Οι πατέντες για τη συσκευή αναφέρθηκαν το 2022 και ένα εμπορικό σήμα για το Samsung Galaxy Ring χορηγήθηκε από την Κορεατική Υπηρεσία Πληροφοριών Δικαιωμάτων Πνευματικής Ιδιοκτησίας (KIPRIS). Αγνοούμε εδώ και χρόνια τις φήμες για τα δαχτυλίδια Apple Watch, αλλά το γεγονός είναι ότι τα έξυπνα δαχτυλίδια κερδίζουν έδαφος. Η εμπειρία χωρίς οθόνη απευθύνεται σε πολλούς χρήστες που θέλουν απλώς να παρακολουθούν τα βασικά τους στοιχεία χωρίς περισπασμούς.

Πότε είναι η ημερομηνία κυκλοφορίας του Samsung Galaxy Ring;

Με μόνο ένα δίπλωμα ευρεσιτεχνίας και ένα όνειρο να σβήσει, η εκτίμηση της ημερομηνίας κυκλοφορίας για την πρώτη προσπάθεια της Samsung είναι σχεδόν αδύνατη. Διακλαδίζοντας σε νέα περιοχή, η Samsung δεν θα θέλει να ταλαντευτεί και να χάσει. Προκειμένου να ανταγωνιστεί τα υπάρχοντα έξυπνα δαχτυλίδια, η εταιρεία θα πρέπει να έχει καλά κουμπώσει τη συσκευή πριν από την κυκλοφορία. Δεδομένου του αραιού αριθμού φημών ή διαρροών, πιστεύουμε ότι μια κυκλοφορία το 2023 είναι απίθανη. Από την άλλη πλευρά, είναι πιθανό η Samsung να πει περισσότερες πληροφορίες στην επόμενη εκδήλωσή της Unpacked.

Ποιες προδιαγραφές και χαρακτηριστικά θα έχει το Samsung Galaxy Ring;

Patent Samsung Galaxy Ring

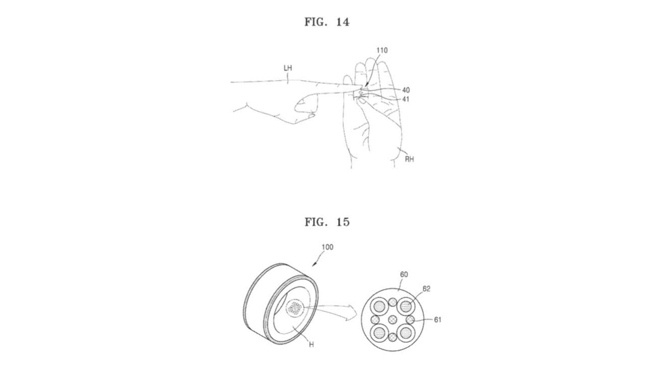
Με βάση τις καταθέσεις διπλωμάτων ευρεσιτεχνίας που αναφέρθηκαν για πρώτη φορά από κορεατικό κατάστημα

Naver

, το δαχτυλίδι μπορεί να προσφέρει επαρκή παρακολούθηση της υγείας. Η κατάθεση προτείνει την ενσωμάτωση τόσο των αισθητήρων ΗΚΓ όσο και των αισθητήρων PPG. Αυτό πιθανότατα σημαίνει τη δυνατότητα λήψης μετρήσεων καρδιακών παλμών καθώς και παρακολούθησης της θερμοκρασίας. Αυτά τα χαρακτηριστικά ευθυγραμμίζουν το δαχτυλίδι με τις τρέχουσες δυνατότητες του Oura Ring 3, ενός σημερινού ηγέτη στην αγορά των έξυπνων δαχτυλιδιών. Ένα άρτιο

προγενέστερη ευρεσιτεχνία

επισημαίνει πιθανή ενσωμάτωση έξυπνου σπιτιού. Είναι πιθανό η Samsung να προσφέρει στους χρήστες του Galaxy Ring τη δυνατότητα να ελέγχουν τις συνδεδεμένες συσκευές, όπως μια έξυπνη τηλεόραση.

Ποια θα είναι η τιμή του Samsung Galaxy Ring;

Με μια λέξη: ακριβό. Η προηγμένη τεχνολογία απαιτεί να μετατραπεί ένα μικροσκοπικό δαχτυλίδι σε βιώσιμο ιχνηλάτη γυμναστικής πρέπει να κοστίσει μια αρκετά δεκάρα. Η τάση μας είναι να περιμένουμε τιμές παρόμοιες με τα υπάρχοντα wearables της εταιρείας.

Το πιο πρόσφατο Oura Ring 3 ξεκινά από 299 $ και στη συνέχεια απαιτεί μηνιαία συνδρομή για πρόσβαση στο πλήρες σετ λειτουργιών του. Η Samsung δεν έχει ακόμη υιοθετήσει συνδρομητική υπηρεσία για τη σειρά Galaxy Watch της και ελπίζουμε να μην ενταχθεί στην τάση με το Galaxy Ring.

Samsung Galaxy Ring: Τι θέλουμε να δούμε

Ένα δαχτυλίδι Oura σε stealth, στηρίζεται σε μαύρη επιφάνεια.

Kaitlyn Cimino / Android Authority

Για αρχή, θέλουμε απλώς να δούμε να υπάρχει ένα Samsung Galaxy Ring. Μια ισχυρή εναλλακτική λύση για το Oura Ring θα μπορούσε να δώσει ώθηση σε ολόκληρη την τάση των έξυπνων δακτυλίων και να ωθήσει περισσότερους ανταγωνιστές να ξεκινήσουν. Αναμένουμε πλήρως βασική παρακολούθηση της υγείας και αξιοπρεπή διάρκεια ζωής της μπαταρίας. Πέρα από αυτό, παρακάτω είναι μερικές λεπτομέρειες που ελπίζουμε επίσης να βρούμε επί του σκάφους.

Προηγμένες μετρήσεις υγείας και εκπαίδευσης

Είναι αυτονόητο ότι θέλουμε να δούμε λεπτομερείς μετρήσεις υγείας στο πιθανό Galaxy Ring της Samsung. Η παρακολούθηση του καρδιακού ρυθμού και η παρακολούθηση της θερμοκρασίας είναι δύο πυλώνες του Oura που θεωρούμε πολύ χρήσιμους κατά τη διάρκεια της κριτικής Oura Ring 3. Εάν η Samsung αντικατοπτρίζει αυτά τα χαρακτηριστικά, ελπίζουμε να δούμε μια πιο προηγμένη χρήση των δεδομένων θερμοκρασίας, ειδικά σε σχέση με την υγεία των γυναικών. Εκεί που το Oura Ring υπολείπεται κατά τη γνώμη μας είναι το fitness tracking. Η Samsung θα μπορούσε να ξεχωρίσει προσφέροντας ένα πιο εμπλεκόμενο σύνολο χαρακτηριστικών για αθλητές.

Φανταστική παρακολούθηση ύπνου

Ένα Samsung Galaxy Watch εμφανίζει πληροφορίες σχετικά με την παρακολούθηση ύπνου της πλατφόρμας.

Kaitlyn Cimino / Android Authority

Το Oura Ring 3 έχει στριμώξει την αγορά των δαχτυλιδιών και το έκανε ακονίζοντας τα Zs των χρηστών. Ένας γελοίος αριθμός ανθρώπων δεν έχει αρκετό κλείσιμο και η προσφορά ενός εργαλείου για τη διαχείριση του προβλήματος είναι μια οικιακή διαδρομή. Θέλουμε να δούμε τη Samsung να εντείνει τη δική της παρακολούθηση ύπνου στον καρπό και μετά να μεταφέρει αυτή την ισχυρή πλατφόρμα στα δάχτυλά μας. Η ακρίβεια, οι πληροφορίες, οι τάσεις και η καθοδήγηση ύπνου είναι όλοι παράγοντες που θέλουμε να βρούμε. Ελαφρύ, άνετο και χωρίς φωτεινή οθόνη για να σας ξυπνήσει όλη τη νύχτα, ένα έξυπνο δαχτυλίδι είναι ένας ανόητος σύντροφος για ύπνο.

Λεπτό σχέδιο

Όσο μικροί κι αν φαίνονται οι υπάρχοντες έξυπνοι δακτύλιοι σε σύγκριση με φορητές συσκευές που βασίζονται στον καρπό, εξακολουθούν να είναι αρκετά ογκώδεις. Πολλά μοιάζουν με μεγάλες μπάντες γάμου. Θα θέλαμε να δούμε τη Samsung να προσφέρει μια πιο μικροκαμωμένη μορφή που δεν θα τραβήξει τόσα πολλά βλέμματα. Θα ήμασταν επίσης ανοιχτοί σε περισσότερα χρώματα και φινιρίσματα Samsung Galaxy Ring από αυτά που υπάρχουν στην τρέχουσα πισίνα έξυπνων δακτυλίων.

Θα αγοράζατε ένα Samsung Galaxy Ring;

0 ψήφοι




AndroidAuthority.com



You might also like


Leave A Reply



Cancel Reply

Your email address will not be published.