Apple Watch: πιθανή ενσωμάτωση φακού στο μέλλον
Το
Apple Watch
διαθέτει ένα
τρόπος
φακός
που κάνει την οθόνη του ρολογιού εντελώς λευκή, επιτρέποντας στους χρήστες να βλέπουν πράγματα στο σκοτάδι. Ωστόσο, τα μελλοντικά ρολόγια Apple θα μπορούσαν να έρχονται με εξωτερικό φακό, ο οποίος θα είναι πιο χρήσιμος. Σύμφωνα με δίπλωμα
ευρεσιτεχνία
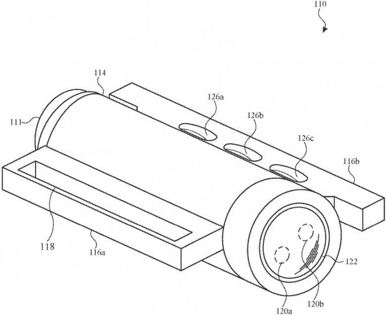
που χορηγήθηκε στην Apple, η εταιρεία εργάζεται σε μια συσκευή που ονομάζεται “Modular Light Assembly For A Wearable Device”, η οποία είναι “σχεδιασμένη για ενσωμάτωση με φορητές συσκευές”. Μπορεί να συνδεθεί εξωτερικά στο περίβλημα και τον ιμάντα ενός smartwatch.
Το σχηματικό που περιλαμβάνεται στο δίπλωμα ευρεσιτεχνίας μας δίνει μια ιδέα για το πώς θα μπορούσαν να είναι τα μελλοντικά ρολόγια Apple με τον εξωτερικό φακό προσαρτημένο στους ιμάντες τους. Αυτό φαίνεται σαν μια πιο πρακτική λύση, καθώς ο χρήστης μπορεί να το στρέφει σαν φακό όπου θέλει, αντί να στρέφει τον καρπό του για να δείξει την οθόνη του ρολογιού, η οποία έχει μικρότερη εμβέλεια και φωτεινότητα.
Επιπλέον, αυτό το αρθρωτό φως θα έχει τη δική του πηγή
ενέργεια
ς, ώστε να μην επηρεάζει την μπαταρία του Apple Watch. Θα μπορούσε επίσης να έχει ένα κουμπί για να το ενεργοποιείτε/απενεργοποιείτε χωρίς να αλληλεπιδράτε με το Apple Watch. Ωστόσο, το δίπλωμα ευρεσιτεχνίας λέει ότι “το αρθρωτό φως μπορεί να λάβει επικοινωνία από την κινητή συσκευή για να ενεργοποιήσει (ενεργοποιήσει) ή να απενεργοποιήσει (απενεργοποιήσει) μία ή περισσότερες πηγές φωτός του συγκροτήματος αρθρωτού φωτός”, που σημαίνει ότι οι χρήστες θα μπορούσαν επίσης να το ελέγξουν με το Apple Watch τους.
Το αρθρωτό φως θα μπορούσε επίσης να έχει βαθμολογία IP, όπως λέει το δίπλωμα ευρεσιτεχνίας, “τα αρθρωτά συγκροτήματα φωτός που περιγράφονται εδώ μπορεί να περιλαμβάνουν χαρακτηριστικά ανθεκτικά στα υγρά, όπως σφραγίδες ή δακτυλίους O, που εμποδίζουν την είσοδο υγρού σε ευαίσθητα εξαρτήματα.” Το δίπλωμα ευρεσιτεχνίας αποκαλύπτει επίσης ότι το αρθρωτό φως μπορεί να διαχωριστεί από το λουρί του ρολογιού, αλλά “σε ορισμένες εφαρμογές, η ταινία είναι ραμμένη, κολλημένη ή με άλλο τρόπο προσαρτημένη” στο φως, πράγμα που σημαίνει ότι ο φακός θα μπορούσε να πωληθεί ως ξεχωριστό αξεσουάρ για το Apple Watch. Θα μπορούσαμε επίσης να δούμε την Apple να λανσάρει νέους ιμάντες για τον εξωτερικό φακό.
——————————————–
VIA:
gr.gizchina.com
