Η
Apple
συνεχίζει να ερευνά την κατασκευή οθονών κυλίνδρων για
iPhone
και iPad, όπου ο χρήστης μπορεί να τραβήξει τα άκρα για να κάνει την οθόνη μεγάλη ή μικρή ανάλογα με τις ανάγκες του.
Φανταστείτε τον Καίσαρα, που στέκεται στο Κολοσσαίο, κρατώντας ένα σημαντικό διάταγμα, που διαβάζεται από περγαμηνή απλωμένη ανάμεσα σε δύο κυλίνδρους. Αλλάξτε τώρα τον Caesar σε Tim Cook, αλλάξτε το Apple Park για το Κολοσσαίο και βλέπετε πώς η Apple μπορεί να παρουσιάσει ένα μελλοντικό κυλινδρικό iPhone.
Δεν είναι πιθανό να συμβεί στη φετινή παρουσίαση του
iPhone 15
και στην πραγματικότητα μπορεί να μην συμβεί ποτέ. Η πιο πρόσφατη εξερεύνηση αυτής της ιδέας της οθόνης κυλίνδρων από την Apple έρχεται σε μια πρόσφατα αποκαλυφθείσα αίτηση για διπλώματα ευρεσιτεχνίας και η Apple κάνει αίτηση για χιλιάδες πατέντες ετησίως.
Η Apple λαμβάνει επίσης πολλά διπλώματα ευρεσιτεχνίας που χορηγούνται κάθε χρόνο, και όμως ακόμη και τότε μπορεί να μην την κάνει τελικό προϊόν. Αλλά η Apple φαίνεται ιδιαίτερα επικεντρωμένη σε αυτή την ιδέα.
Το 2015, ένα άλλο δίπλωμα έδειξε την ίδια ιδέα που χρησιμοποιήθηκε ως αναδιπλούμενο κάλυμμα, προσφέροντας “Ενεργή προστασία οθόνης για ηλεκτρονικές συσκευές”. Στη συνέχεια, το 2017, είδαμε το πρώτο σημάδι μιας πραγματικής roll-up οθόνης για το iPhone και το 2020 είδε μια διαφορετική ανατροπή στην ιδέα.
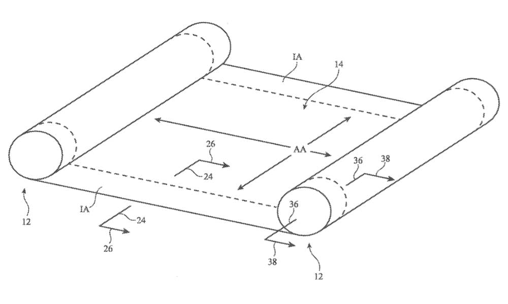
Τώρα υπάρχει η “Ηλεκτρονική Συσκευή Με Ευέλικτες Δομές Οθόνης”, μια αίτηση διπλώματος ευρεσιτεχνίας που προχωρά με περισσότερες λεπτομέρειες.
«Οι οθόνες σχηματίζονται συχνά από άκαμπτες δομές, όπως γυάλινα υποστρώματα… Αυτό μπορεί να καταστήσει δύσκολο τον σχηματισμό συμπαγών ηλεκτρονικών συσκευών με επιθυμητά χαρακτηριστικά», λέει η πατέντα. “[Αλλά] μια ευέλικτη οθόνη μπορεί να τυλιχτεί γύρω από έναν ή περισσότερους κυλίνδρους.”

Όπως πάντα με τις αιτήσεις για διπλώματα ευρεσιτεχνίας, η Apple φροντίζει να διατυπώνει τα πράγματα έτσι ώστε να καλύπτουν τη μέγιστη δυνατή ερμηνεία της ιδέας της. Έτσι, υπάρχουν επανειλημμένες αναφορές για το πώς αυτό θα μπορούσε να χρησιμοποιηθεί για “ένα κινητό τηλέφωνο, έναν υπολογιστή tablet, μια συσκευή ρολόι χειρός κ.λπ.”
Παράλληλα με τις λίστες των πρακτικά ατελείωτων τύπων συσκευών που θα μπορούσαν ενδεχομένως να έχουν τέτοιες οθόνες, η αίτηση διπλώματος ευρεσιτεχνίας επικεντρώνεται στο να κάνει αυτές τις οθόνες ανθεκτικές. Υπάρχουν λοιπόν αναφορές σε τι θα μπορούσαν να κατασκευαστούν, όπως «μέταλλο, πλαστικό ή άλλα κατάλληλα υλικά».
Η εφεύρεση πιστώνεται στον Scott A. Myers, του οποίου η προηγούμενη σχετική εργασία περιλαμβάνει μια αίτηση για δίπλωμα ευρεσιτεχνίας για ένα iPhone με οθόνη που διπλώνει.

