Η Microsoft θέλει να βάλει στην πλάτη σας μια τσάντα με έναν ψηφιακό βοηθό που λειτουργεί με AI
Η Microsoft
θα σταματήσει την υποστήριξη για την εφαρμογή
Cortana
στα Windows πριν από το τέλος του τρέχοντος έτους, αλλά ενδέχεται να εργάζεται σε έναν νέο ψηφιακό βοηθό για φορητές συσκευές. Η εταιρεία έχει καταθέσει αίτηση για δίπλωμα ευρεσιτεχνίας για ένα έξυπνο σακίδιο με τεχνητή νοημοσύνη.
Το προτεινόμενο σακίδιο θα έχει κάμερα, μικρόφωνο και άλλους αισθητήρες για τη συλλογή οπ
τι
κών και ακουστικών δεδομένων από το περιβάλλον. Στη συνέχεια, θα μπορούσε να χρησιμοποιήσει αυτά τα δεδομένα συμφραζομένων για να ολοκληρώσει τις φωνητικές εντολές που δίνονται από τον χρήστη.
Σύμφωνα με την κατάθεση διπλώματος ευρεσιτεχνίας, το σακίδιο θα μπορούσε να παρέχει βοήθεια πλοήγησης, να προσθέτει συμβάντα ημερολογίου, να συγκρίνει τις τιμές κατά τις αγορές και πολλά άλλα. Θα έχει πρόσβαση στα δεδομένα του χρήστη για να βοηθήσει στην παροχή σχετικών πληροφοριών.
Η Microsoft σημειώνει ότι πολλοί τρέχοντες ψηφιακοί βοηθοί περιορίζονται στο σπίτι και
δεν είναι
τόσο χρήσιμοι εν κινήσει. Αυτό το σακίδιο πλάτης στοχεύει να φέρει πιο φορητό AI με επίγνωση του περιβάλλοντος.
Πρώτον, ένας ψηφιακός βοηθός συμβατός με τις τρέχουσες έννοιες είναι διαθέσιμος με ένα wearable που φοράει ο χρήστης.
Δεύτερον, ένας χρήστης μπορεί να αλληλεπιδράσει με τον ψηφιακό βοηθό hands-free χρησιμοποιώντας φωνητικές εντολές και μία ή περισσότερες ακουστικές ανατροφοδότηση, οπτική ανάδραση ή/και απτική ανάδραση χωρίς να αποσπά την προσοχή του χρήστη από την τρέχουσα εργασία.
Τρίτον, ο ψηφιακός βοηθός μπορεί να αντιληφθεί το περιβάλλον του χρήστη και επομένως έχει επίγνωση του περιβάλλοντος, επιτρέποντας στον χρήστη να παρέχει εντολές με βάση τα συμφραζόμενα στον ψηφιακό βοηθό.
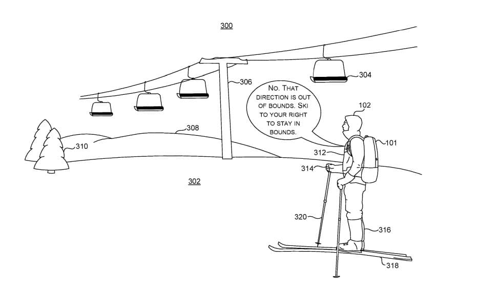
Ο χρήστης μπορούσε να ενεργοποιήσει την τεχνητή νοημοσύνη του σακιδίου μέσω κουμπιών στους ιμάντες, με διαφορετικά χτυπήματα και λαβές που ενεργοποιούν διαφορετικές λειτουργίες. Οι πιθανές περιπτώσεις χρήσης περιλαμβάνουν το να ζητάτε οδηγίες χωρίς χέρια ενώ περπατάτε ή να ζητάτε από το σακίδιο να αναγνωρίσει ένα αντικείμενο κατά τις αγορές και να αναζητήσετε κριτικές.

Δείχνει το ενδιαφέρον της Microsoft για την επέκταση των δυνατοτήτων τεχνητής νοημοσύνης σε φορητές συσκευές πέρα από ρολόγια και γυαλιά.
Το δίπλωμα ευρεσιτεχνίας ενισχύει τις ευρύτερες προσπάθειες της Microsoft να ενσωματώσει την τεχνητή νοημοσύνη στα
προϊόντα
και τις υπηρεσίες της, από
Office 365 σε Bing. Ωστόσο, απεικονίζει επίσης την πειραματική πλευρά της ανάπτυξης AI. Τα ομιλούντα σακίδια είναι ένας προσβάσιμος τρόπος για να αναδείξετε τις δυνατότητες της τεχνητής νοημοσύνης.
Ανάλογα με την πολυπλοκότητα του περιβαλλοντικού πλαισίου ή/και την πολυπλοκότητα της μηχανής τεχνητής νοημοσύνης, ο χρήστης μπορεί να προσαρμόσει το επίπεδο λεπτομέρειας στη φωνητική εντολή με βάση τα συμφραζόμενα.
Για παράδειγμα, ο χρήστης μπορεί να καθορίσει, “Hey Backpack, add this poster στο ημερολόγιό μου”. Εναλλακτικά, εάν υπάρχουν δύο αφίσες ευθυγραμμισμένες κάθετα, ο χρήστης 102 μπορεί να ορίσει: “Hey Assistant, πρόσθεσε την κάτω αφίσα στο ημερολόγιό μου.
Ακόμα κι αν το προϊόν δεν φτάσει ποτέ στην αγορά, η Microsoft στοχεύει να φέρει φωνητικούς βοηθούς με επίγνωση του περιβάλλοντος και άλλες τεχνολογίες τεχνητής νοημοσύνης στα καταναλωτικά προϊόντα.
Πηγή:
USPTO
