Ανυπομονώ για το Face ID στο MacBook
Έχουν περάσει έξι χρόνια από τότε που το Face ID έφτασε στο iPhone και άλλαξε τα πάντα. Είναι εύκολα ένα από τα καλύτερα χαρακτηρισ
τι
κά του iPhone για μένα, κάτι που δεν θα άλλαζα με τίποτα άλλο όσον αφορά τον βιομετρικό έλεγχο ταυτότητας σε smartphone.
Από τη στιγμή που το βίωσα σε ένα iPhone X, συνειδητοποίησα ότι το Face ID ανοίγει την πόρτα σε προηγμένες λειτουργίες ασφαλείας. Είδα ένα μέλλον όπου το Face ID θα προσφέρει διαρκή έλεγχο ταυτότητας στη συσκευή της οποίας η ασφάλεια δεδομένων και το απόρρητο είναι εξίσου σημαντικά με το iPhone. το Mac. Πιο συγκεκριμένα, νόμιζα ότι το Face ID θα ερχόταν στα MacBooks αρκετά σύντομα.
Έξι χρόνια αργότερα, ακόμα περιμένω την Apple να φέρει το Face ID στο
MacBook
, αν και καταλαβαίνω τι προκαλεί την καθυστέρηση. Αλλά τα καλά νέα είναι ότι η Apple δεν σταμάτησε να εργάζεται για τη λειτουργία. Στην εταιρεία μόλις απονεμήθηκε ένα δίπλωμα ευρεσιτεχνίας που θα έκανε εφικτό το Face ID σε Mac, συμπεριλαμβανομένου του MacBook.
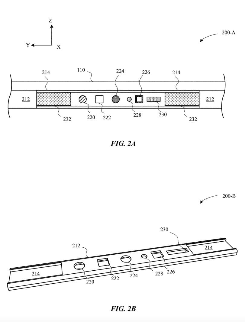
Το πρόβλημα με την ενεργοποίηση του Face ID σε μοντέλα
MacBook Air
και MacBook Pro αφορά φυσικούς περιορισμούς. Δεν μπορείτε να τοποθετήσετε τον ογκώδη αισθητήρα Face ID που υπάρχει στο iPhone μέσα στο καπάκι ενός MacBook.
Το καπάκι είναι πολύ πιο λεπτό από ένα iPhone ή
iPad
, επομένως αυτοί οι αισθητήρες Face ID δεν μπορούν να μπουν εκεί. Ναι, τα νεότερα σχέδια MacBook Air και Pro έχουν μια εγκοπή στο επάνω μέρος που θα ήταν τέλεια για Face ID. Αλλά το καπάκι θα πρέπει να είναι πολύ πιο λεπτό.
Apple μέσω USPTO
Αλλά η Apple μπορεί επίσης να περιλαμβάνει στοιχεία Face ID μέσα σε μια περιοχή που μοιάζει με
Touch Bar
ή μέσα στο πληκτρολόγιο του MacBook. Η Apple αναφέρει ακόμη και την κίνηση ενός πλήκτρου πάνω-κάτω για να αποκαλύψει την κάμερα Face ID.
Αριθμός πατέντας USPTO της Apple
11.727.718
οι οποίες
Apple Insider
ανακαλύφθηκε, περιγράφει αυτές τις τεχνολογίες που θα επέτρεπαν στην Apple να τοποθετήσει μια μονάδα Face ID μέσα σε ένα MacBook. Ή ένα iMac. Με το τελευταίο, θα πρέπει να είναι ακόμα πιο εύκολο, δεδομένου ότι η Apple δεν χρειάζεται να αντιμετωπίσει τους ίδιους περιορισμούς. Ωστόσο, η Apple πιθανότατα θα ήθελε να φέρει το Face ID στους περισσότερους Mac, όχι μόνο στους επιτραπέζιους υπολογιστές all-in-one.
Τιτλούχος
Μονάδα αναγνώρισης φωτός για τον προσδιορισμό χρήστη μιας υπολογιστικής συσκευής
, το δίπλωμα ευρεσιτεχνίας μόλις απονεμήθηκε στην Apple. Αλλά ο κατασκευαστής MacBook υπέβαλε αίτηση για αυτό το 2019, δύο χρόνια μετά την άφιξη του iPhone X.

Apple μέσω USPTO
Είναι ενδιαφέρον ότι η Apple εξηγεί αμέσως από την περίληψη ότι “η εφαρμογή σχετίζεται με φορητό υπολογιστή”. Οι εικόνες που χρησιμοποιεί δείχνουν ένα σχέδιο MacBook Air/Pro που θα αναγνωρίζατε εύκολα. Η συσκευή έχει μια εγκοπή σημειωμένη στο σημείο που θα τοποθετηθεί η μονάδα αναγνώρισης φωτός. Αυτός είναι ένας φανταχτερός τρόπος να περιγράψεις το Face ID.
Ως υπενθύμιση, το Face ID λειτουργεί εκπέμποντας υπέρυθρο φως, το οποίο δημιουργεί ένα μοναδικό μοτίβο για το πρόσωπο κάθε χρήστη του iPhone. Στη συνέχεια, το iPhone αναγνωρίζει αυτό το μοτίβο κάθε φορά που χρησιμοποιείτε το Face ID για να ξεκλειδώσετε το τηλέφωνό σας, να πληρώσετε για αγορές ή να ελέγξετε την ταυτότητα σε άλλες εφαρμογές.
Αντίθετα, θέλω να τα κάνω όλα αυτά σε ένα MacBook. Θέλω να χρησιμοποιήσω το Face ID για να συνδεθώ σε όλα. Και ο έλεγχος ταυτότητας Face ID είναι αυτό που προτείνει η Apple στην πατέντα:
Αυτό το έγγραφο περιγράφει διάφορες υλοποιήσεις που σχετίζονται με μια βιομετρική μονάδα ελέγχου ταυτότητας για τον έλεγχο ταυτότητας ενός χρήστη μιας φορητής συσκευής υπολογιστών. Ειδικότερα, οι διάφορες πραγματοποιήσεις σχετίζονται με μια μονάδα αναγνώρισης προτύπων φωτός που είναι ικανή να εκπέμπει ένα προκαθορισμένο σχέδιο φωτός στον χρήστη και στη συνέχεια να ανιχνεύει ένα σχέδιο φωτός που ανακλάται από τον χρήστη για τον έλεγχο ταυτότητας του χρήστη.

Apple μέσω USPTO
Αυτό που είναι συναρπαστικό σε όλα αυτά είναι ότι η Apple πιστεύει ότι μπορεί να τοποθετήσει αυτές τις κάμερες Face ID στον απίστευτα λεπτό χώρο που είναι διαθέσιμος μέσα στο καπάκι του MacBook. Τα σχέδια στο δίπλωμα ευρεσιτεχνίας δείχνουν επίσης iMac. Αλλά, και πάλι, υπάρχει πολύς χώρος για ελιγμούς εκεί.
Τούτου λεχθέντος, δεν μπορούμε να πούμε πότε η Apple θα φέρει το Face ID στο Mac, ανεξάρτητα από το πόσα διπλώματα ευρεσιτεχνίας καταθέτει για να περιγράψει μια τέτοια τεχνολογία. Και οι μέθοδοι που περιγράφονται σε αυτό το δίπλωμα ευρεσιτεχνίας ενδέχεται να μην χρησιμοποιηθούν ποτέ.
Ωστόσο, είδαμε φήμες το 2019 που ισχυρίζονταν ότι τα MacBook με Face ID και τα Mac με οθόνες αφής ήταν σε δοκιμή στην Apple. Με ενδιαφέρει ιδιαίτερα το πρώτο, αν και δεν θα με πείραζε μια οθόνη αφής.
